Door for 1994 Nissan 240SX
Vehicle
1994 Nissan 240SX
Change Vehicle
Categories
- Bumper & Components - Front
- Bumper & Components - Rear
- Center
- Cluster & Switches
- Cover & Components
- Cowl
- Door
- Door & Components
- Exterior Trim - Convertible Top
- Exterior Trim - Door
- Exterior Trim - Fender
- Exterior Trim - Quarter Panel
- Exterior Trim - Rear Body
- Fender & Components
- Floor & Rails
- Frame & Components
- Front Seat Components
- Fuel Door
- Glass - Door
- Glass - Windshield
- Glass & Hardware
- Hinge Pillar
- Hood & Components
- Inner Structure & Rails
- Instrument Panel
- Interior Trim - Door
- Interior Trim - Pillars
- Interior Trim - Quarter Panels
- Interior Trim - Rear Body
- Interior Trim - Roof
- Labels
- Lid & Components
- Liftgate
- Lock & Hardware
- Motor & Components
- Outside Mirrors
- Quarter Panel & Components
- Quarter Window
- Rear Body
- Rear Floor & Rails
- Rear Upper Body
- Reveal Moldings
- Rocker
- Sound System
- Spoiler
- Stripe Tape
- Structural Components & Rails
- Tracks & Components
- Trunk
- Windshield Header & Components
- Wiper & Washer Components
- Wiper Components
- Alternator
- Antenna & Radio
- Anti-Theft System
- Battery
- Bulbs - Chassis
- Combination Lamps
- Convertible Top
- Cruise Control System
- Distributor
- Door
- Electrical Components
- Flashers
- Fog Lamps
- Front Door
- Front Seat Belts
- Gauges
- Headlamp Components
- High Mount Lamps
- Horn
- Ignition Lock
- Ignition System
- Instruments & Gauges
- License Lamps
- Mirrors
- Park Lamps
- Powertrain Control
- Quarter Window
- Rear Seat Belts
- Senders
- Sensors
- Side Marker Lamps
- Starter
- Switches
- Window Defroster
- Wipers
- Bumper & Components - Front
- Bumper & Components - Rear
- Center
- Cluster & Switches
- Cover & Components
- Cowl
- Door
- Door & Components
- Exterior Trim - Convertible Top
- Exterior Trim - Door
- Exterior Trim - Fender
- Exterior Trim - Quarter Panel
- Exterior Trim - Rear Body
- Fender & Components
- Floor & Rails
- Frame & Components
- Front Seat Components
- Fuel Door
- Glass - Door
- Glass - Windshield
- Glass & Hardware
- Hinge Pillar
- Hood & Components
- Inner Structure & Rails
- Instrument Panel
- Interior Trim - Door
- Interior Trim - Pillars
- Interior Trim - Quarter Panels
- Interior Trim - Rear Body
- Interior Trim - Roof
- Labels
- Lid & Components
- Liftgate
- Lock & Hardware
- Motor & Components
- Outside Mirrors
- Quarter Panel & Components
- Quarter Window
- Rear Body
- Rear Floor & Rails
- Rear Upper Body
- Reveal Moldings
- Rocker
- Sound System
- Spoiler
- Stripe Tape
- Structural Components & Rails
- Tracks & Components
- Trunk
- Windshield Header & Components
- Wiper & Washer Components
- Wiper Components
- Alternator
- Antenna & Radio
- Anti-Theft System
- Battery
- Bulbs - Chassis
- Combination Lamps
- Convertible Top
- Cruise Control System
- Distributor
- Door
- Electrical Components
- Flashers
- Fog Lamps
- Front Door
- Front Seat Belts
- Gauges
- Headlamp Components
- High Mount Lamps
- Horn
- Ignition Lock
- Ignition System
- Instruments & Gauges
- License Lamps
- Mirrors
- Park Lamps
- Powertrain Control
- Quarter Window
- Rear Seat Belts
- Senders
- Sensors
- Side Marker Lamps
- Starter
- Switches
- Window Defroster
- Wipers
Browse Categories
Select category
- Bumper & Components - Front
- Bumper & Components - Rear
- Center
- Cluster & Switches
- Cover & Components
- Cowl
- Door
- Door & Components
- Exterior Trim - Convertible Top
- Exterior Trim - Door
- Exterior Trim - Fender
- Exterior Trim - Quarter Panel
- Exterior Trim - Rear Body
- Fender & Components
- Floor & Rails
- Frame & Components
- Front Seat Components
- Fuel Door
- Glass - Door
- Glass - Windshield
- Glass & Hardware
- Hinge Pillar
- Hood & Components
- Inner Structure & Rails
- Instrument Panel
- Interior Trim - Door
- Interior Trim - Pillars
- Interior Trim - Quarter Panels
- Interior Trim - Rear Body
- Interior Trim - Roof
- Labels
- Lid & Components
- Liftgate
- Lock & Hardware
- Motor & Components
- Outside Mirrors
- Quarter Panel & Components
- Quarter Window
- Rear Body
- Rear Floor & Rails
- Rear Upper Body
- Reveal Moldings
- Rocker
- Sound System
- Spoiler
- Stripe Tape
- Structural Components & Rails
- Tracks & Components
- Trunk
- Windshield Header & Components
- Wiper & Washer Components
- Wiper Components
- Alternator
- Antenna & Radio
- Anti-Theft System
- Battery
- Bulbs - Chassis
- Combination Lamps
- Convertible Top
- Cruise Control System
- Distributor
- Door
- Electrical Components
- Flashers
- Fog Lamps
- Front Door
- Front Seat Belts
- Gauges
- Headlamp Components
- High Mount Lamps
- Horn
- Ignition Lock
- Ignition System
- Instruments & Gauges
- License Lamps
- Mirrors
- Park Lamps
- Powertrain Control
- Quarter Window
- Rear Seat Belts
- Senders
- Sensors
- Side Marker Lamps
- Starter
- Switches
- Window Defroster
- Wipers
- Bumper & Components - Front
- Bumper & Components - Rear
- Center
- Cluster & Switches
- Cover & Components
- Cowl
- Door
- Door & Components
- Exterior Trim - Convertible Top
- Exterior Trim - Door
- Exterior Trim - Fender
- Exterior Trim - Quarter Panel
- Exterior Trim - Rear Body
- Fender & Components
- Floor & Rails
- Frame & Components
- Front Seat Components
- Fuel Door
- Glass - Door
- Glass - Windshield
- Glass & Hardware
- Hinge Pillar
- Hood & Components
- Inner Structure & Rails
- Instrument Panel
- Interior Trim - Door
- Interior Trim - Pillars
- Interior Trim - Quarter Panels
- Interior Trim - Rear Body
- Interior Trim - Roof
- Labels
- Lid & Components
- Liftgate
- Lock & Hardware
- Motor & Components
- Outside Mirrors
- Quarter Panel & Components
- Quarter Window
- Rear Body
- Rear Floor & Rails
- Rear Upper Body
- Reveal Moldings
- Rocker
- Sound System
- Spoiler
- Stripe Tape
- Structural Components & Rails
- Tracks & Components
- Trunk
- Windshield Header & Components
- Wiper & Washer Components
- Wiper Components
- Alternator
- Antenna & Radio
- Anti-Theft System
- Battery
- Bulbs - Chassis
- Combination Lamps
- Convertible Top
- Cruise Control System
- Distributor
- Door
- Electrical Components
- Flashers
- Fog Lamps
- Front Door
- Front Seat Belts
- Gauges
- Headlamp Components
- High Mount Lamps
- Horn
- Ignition Lock
- Ignition System
- Instruments & Gauges
- License Lamps
- Mirrors
- Park Lamps
- Powertrain Control
- Quarter Window
- Rear Seat Belts
- Senders
- Sensors
- Side Marker Lamps
- Starter
- Switches
- Window Defroster
- Wipers
No.
Part # / Description / Price
Price
2
2
3
5
5
8
8
10
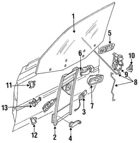
Striker
Nissan
Nissan Positions: Left
Description: Fits 200SX, 240SX, 280ZX, 300ZX, Maxima, Stanza 200SX. 240SX. 300ZX. Stanza. Rear Door. Front Door. 810/Maxima. Sedan jan 1986 - 89,. 4 seater, From 2/87.
MSRP $93.13
$74.50
MSRP $93.13
$74.50
11
MSRP $46.75
$37.40
11
MSRP $54.91
$43.93
Related Parts
Part # / Description / Price
Price
